专利数据库
统计分析
产业报告
专利数据监控
产业人才
行业动态
产业政策法规
维权援助
个人中心
详情
文本
图像
标题
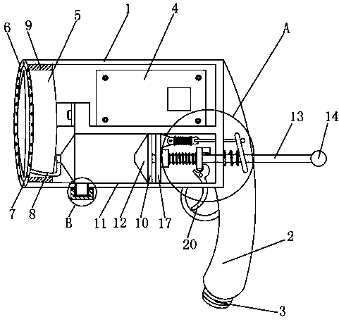
探测性膀胱检测仪
授权日
2015-08-12
公开(公告)号
CN204542200U
申请日
2015-02-15
公开(公告)日
2015-08-12
当前申请(专利权)人
王倩青
发明人
王倩青 | 纪妹 | 岳爱民
简单同族
CN204542200U
简单同族成员数量
1
简单同族被引用专利总数
0
诉讼案件数
0
法律状态/事件
未缴年费
抱歉,您的浏览器不支持PDF预览,请点击链接下载PDF文件