专利数据库
统计分析
产业报告
专利数据监控
产业人才
行业动态
产业政策法规
维权援助
个人中心
详情
文本
图像
标题
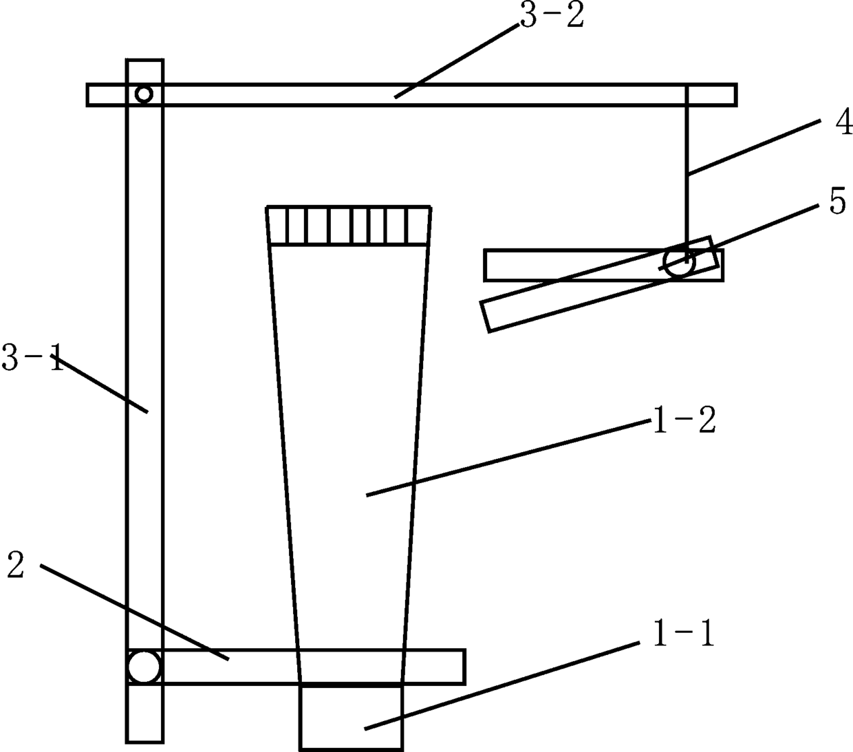
小试剂医用超声耦合剂挤压装置
授权日
2014-06-11
公开(公告)号
CN203634200U
申请日
2013-11-28
公开(公告)日
2014-06-11
当前申请(专利权)人
中国人民解放军广州军区武汉总医院
发明人
林利 | 郝林
简单同族
CN203634200U
简单同族成员数量
1
简单同族被引用专利总数
0
诉讼案件数
0
法律状态/事件
未缴年费
抱歉,您的浏览器不支持PDF预览,请点击链接下载PDF文件