专利数据库
统计分析
产业报告
专利数据监控
产业人才
行业动态
产业政策法规
维权援助
个人中心
详情
文本
图像
标题
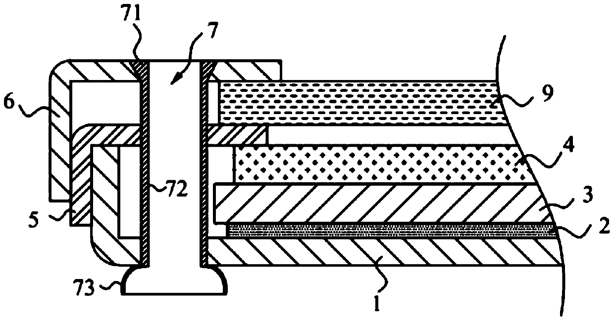
一种连接组件及液晶显示模组
授权日
2019-09-06
公开(公告)号
CN209356788U
申请日
2018-12-14
公开(公告)日
2019-09-06
当前申请(专利权)人
昆山龙腾光电股份有限公司
发明人
李国亮 | 姜立明 | 林丹
简单同族
CN209356788U
简单同族成员数量
1
简单同族被引用专利总数
0
诉讼案件数
0
法律状态/事件
授权
抱歉,您的浏览器不支持PDF预览,请点击链接下载PDF文件