专利数据库
统计分析
产业报告
专利数据监控
产业人才
行业动态
产业政策法规
维权援助
个人中心
详情
文本
图像
标题
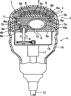
短轴摇动型超声波探头
授权日
2010-12-01
公开(公告)号
CN101360458B
申请日
2007-02-16
公开(公告)日
2010-12-01
当前申请(专利权)人
日本电波工业株式会社
发明人
长谷川恭伸
简单同族
CN101360458A | CN101360458B | EP1987773A1 | EP1987773A4 | JP2007222244A | JP2007222244A5 | JP4611909B2 | US20090048521A1 | US9063068 | WO2007105453A1
简单同族成员数量
10
简单同族被引用专利总数
20
诉讼案件数
0
法律状态/事件
授权
抱歉,您的浏览器不支持PDF预览,请点击链接下载PDF文件