专利数据库
统计分析
产业报告
专利数据监控
产业人才
行业动态
产业政策法规
维权援助
个人中心
详情
文本
图像
标题
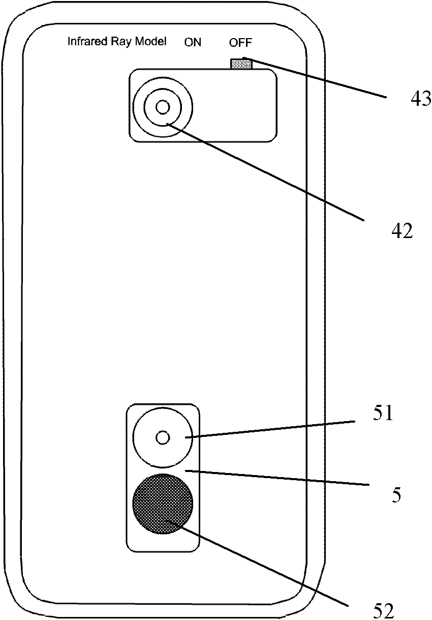
一种结合红外线热扫描和彩色多普勒超声扫描功能的手机
授权日
2012-05-30
公开(公告)号
CN202261481U
申请日
2010-12-30
公开(公告)日
2012-05-30
当前申请(专利权)人
广州宝胆医疗器械科技有限公司
发明人
乔铁
简单同族
CN202261481U
简单同族成员数量
1
简单同族被引用专利总数
35
诉讼案件数
0
法律状态/事件
授权
抱歉,您的浏览器不支持PDF预览,请点击链接下载PDF文件