专利数据库
统计分析
产业报告
专利数据监控
产业人才
行业动态
产业政策法规
维权援助
个人中心
详情
文本
图像
标题
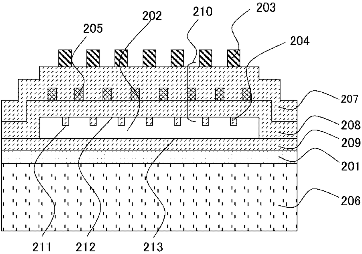
超声波转换器以及使用其的超声波诊断装置
授权日
1900-01-01
公开(公告)号
CN103155597A
申请日
2011-10-13
公开(公告)日
2013-06-12
当前申请(专利权)人
株式会社日立制作所
发明人
竹崎泰一 | 町田俊太郎
简单同族
CN103155597A | CN103155597B | EP2629549A1 | EP2629549A4 | EP2629549B1 | JP5486689B2 | JPWO2012050172A1 | KR101492033B1 | KR1020130080040A | US20130241345A1 | US9941817 | WO2012050172A1
简单同族成员数量
12
简单同族被引用专利总数
21
诉讼案件数
0
法律状态/事件
授权 | 权利转移
抱歉,您的浏览器不支持PDF预览,请点击链接下载PDF文件