专利数据库
统计分析
产业报告
专利数据监控
产业人才
行业动态
产业政策法规
维权援助
个人中心
详情
文本
图像
标题
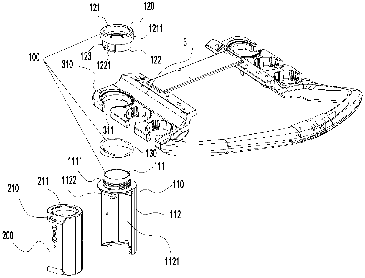
能够装配到超声设备上的耦合剂加热装置以及超声设备
授权日
2019-10-11
公开(公告)号
CN209474646U
申请日
2018-09-11
公开(公告)日
2019-10-11
当前申请(专利权)人
深圳迈瑞生物医疗电子股份有限公司 | 深圳迈瑞科技有限公司
发明人
陈志武 | 何培乾 | 魏开云
简单同族
CN209474646U
简单同族成员数量
1
简单同族被引用专利总数
0
诉讼案件数
0
法律状态/事件
授权
抱歉,您的浏览器不支持PDF预览,请点击链接下载PDF文件