专利数据库
统计分析
产业报告
专利数据监控
产业人才
行业动态
产业政策法规
维权援助
个人中心
详情
文本
图像
标题
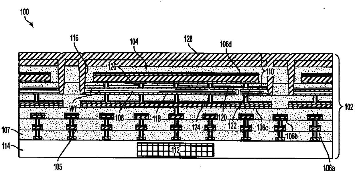
互补金属氧化物半导体(CMOS)晶片中的超声换能器及相关装置和方法
授权日
2020-03-20
公开(公告)号
CN106659464B
申请日
2015-04-17
公开(公告)日
2020-03-20
当前申请(专利权)人
蝴蝶网络有限公司
发明人
乔纳森·M·罗思伯格 | 基思·G·菲费 | 内华达·J·桑切斯 | 苏珊·A·阿列
简单同族
AU2015247484A1 | AU2015247484B2 | CA2946133A1 | CN106659464A | CN106659464B | EP3132470A1 | EP3132470B1 | JP2017516428A | JP2017516428A5 | JP6636502B2 | KR1020160143844A | TW201543649A | TW201921646A | TWI661534B | US10177139 | US10707201 | US20150298170A1 | US20160379973A1 | US20180130795A1 | US20190164956A1 | US9505030 | US9899371 | WO2015161147A1
简单同族成员数量
23
简单同族被引用专利总数
39
诉讼案件数
0
法律状态/事件
授权
抱歉,您的浏览器不支持PDF预览,请点击链接下载PDF文件