专利数据库
统计分析
产业报告
专利数据监控
产业人才
行业动态
产业政策法规
维权援助
个人中心
详情
文本
图像
标题
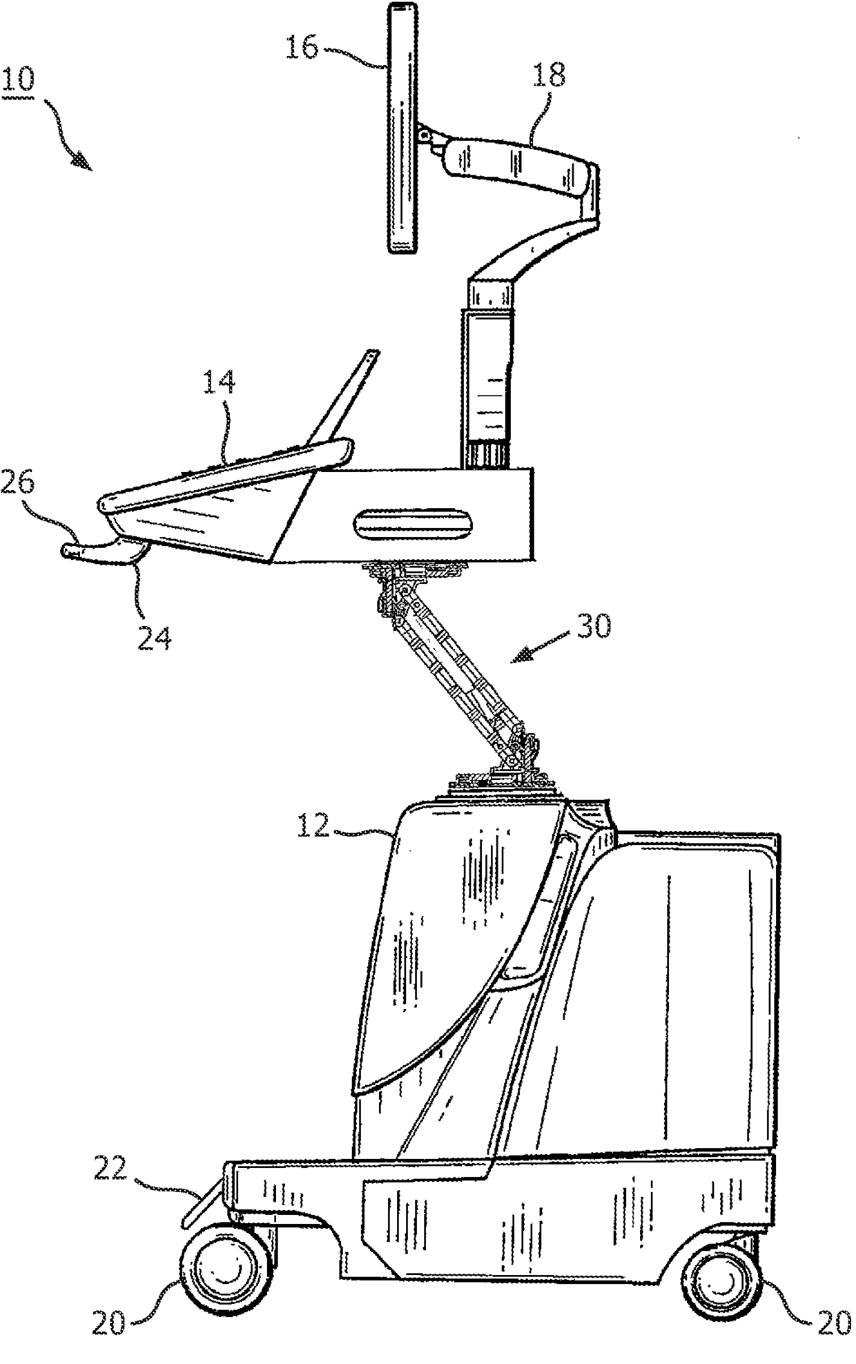
超声系统控制面板和显示器升降机
授权日
1900-01-01
公开(公告)号
CN104869909A
申请日
2013-12-16
公开(公告)日
2015-08-26
当前申请(专利权)人
皇家飞利浦有限公司
发明人
M·A·梅西纳 | D·多兰 | D·范阿尔芬 | T·J·亨特 | B·乔丹
简单同族
CN104869909A | CN104869909B | EP2934322A1 | EP2934322B1 | JP2016501097A | JP2016501097A5 | JP6219404B2 | RU2015129515A | RU2656553C2 | US10299759 | US20150342562A1 | US20170055951A1 | US20180098751A1 | US9504447 | US9855023 | WO2014097122A1
简单同族成员数量
16
简单同族被引用专利总数
23
诉讼案件数
0
法律状态/事件
授权
抱歉,您的浏览器不支持PDF预览,请点击链接下载PDF文件