专利数据库
统计分析
产业报告
专利数据监控
产业人才
行业动态
产业政策法规
维权援助
个人中心
详情
文本
图像
标题
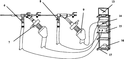
保胆取石、取息肉胆囊内镜系统
授权日
2010-03-10
公开(公告)号
CN201418738Y
申请日
2009-03-04
公开(公告)日
2010-03-10
当前申请(专利权)人
广州宝胆医疗器械科技有限公司
发明人
乔铁
简单同族
CN201418738Y
简单同族成员数量
1
简单同族被引用专利总数
0
诉讼案件数
0
法律状态/事件
未缴年费
抱歉,您的浏览器不支持PDF预览,请点击链接下载PDF文件