专利数据库
统计分析
产业报告
专利数据监控
产业人才
行业动态
产业政策法规
维权援助
个人中心
详情
文本
图像
标题
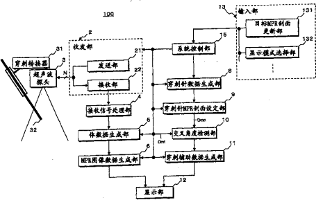
超声波诊断装置及其穿刺辅助用控制方法
授权日
1900-01-01
公开(公告)号
CN101843502A
申请日
2010-03-23
公开(公告)日
2010-09-29
当前申请(专利权)人
东芝医疗系统株式会社
发明人
市冈健一 | 鹫见笃司 | 掛江明弘
简单同族
CN101843502A | CN101843502B | JP2010220770A | JP5495593B2 | US20100240997A1 | US8568323
简单同族成员数量
6
简单同族被引用专利总数
45
诉讼案件数
0
法律状态/事件
授权 | 权利转移
抱歉,您的浏览器不支持PDF预览,请点击链接下载PDF文件