专利数据库
统计分析
产业报告
专利数据监控
产业人才
行业动态
产业政策法规
维权援助
个人中心
详情
文本
图像
标题
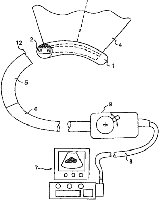
导管用超声阵列传感器
授权日
1900-01-01
公开(公告)号
CN1674828A
申请日
2003-07-16
公开(公告)日
2005-09-28
当前申请(专利权)人
威猛公司
发明人
艾米·弗利施 | 埃莉萨白·拉卡泽 | 安·内盖耶-迪赫 | 菲利佩·奥克莱尔 | 雷米·达费特 | 帕斯卡尔·莫钱普
简单同族
AU2003249225A1 | CA2492771A1 | CA2492771C | CN100411592C | CN1674828A | EP1534140A1 | EP1534140A4 | EP1534140B1 | US20040015084A1 | US6709396 | WO2004006775A1
简单同族成员数量
11
简单同族被引用专利总数
108
诉讼案件数
0
法律状态/事件
授权
抱歉,您的浏览器不支持PDF预览,请点击链接下载PDF文件