专利数据库
统计分析
产业报告
专利数据监控
产业人才
行业动态
产业政策法规
维权援助
个人中心
详情
文本
图像
标题
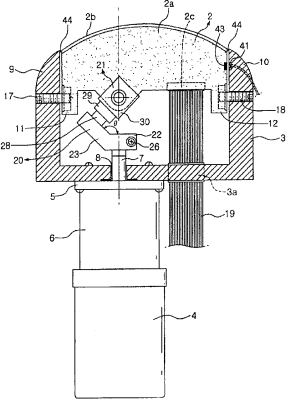
产生四维图像的超声波探头
授权日
2010-02-24
公开(公告)号
CN100591281C
申请日
2006-03-24
公开(公告)日
2010-02-24
当前申请(专利权)人
普罗索尼克有限公司
发明人
韩镇浩 | 金东铉 | 宋仁圣
简单同族
CN100591281C | CN101146483A | KR100562886B1 | US20100156404A1 | US8196471 | WO2006101373A1
简单同族成员数量
6
简单同族被引用专利总数
35
诉讼案件数
0
法律状态/事件
授权 | 权利转移
抱歉,您的浏览器不支持PDF预览,请点击链接下载PDF文件