专利数据库
统计分析
产业报告
专利数据监控
产业人才
行业动态
产业政策法规
维权援助
个人中心
详情
文本
图像
标题
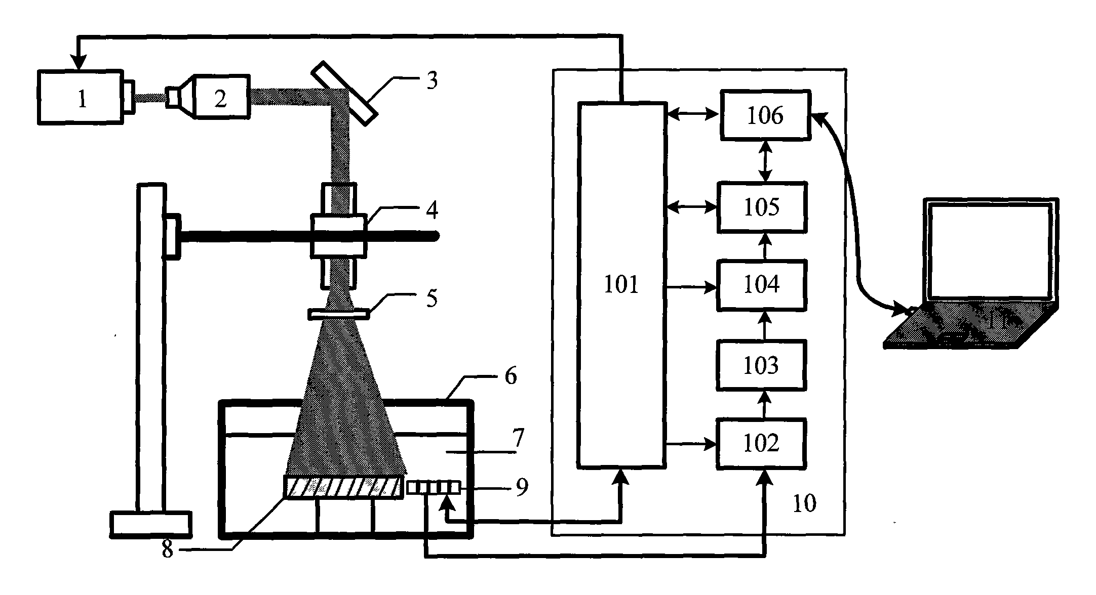
基于阵列探头的实时光声成像装置
授权日
1900-01-01
公开(公告)号
CN101690672A
申请日
2009-09-26
公开(公告)日
2010-04-07
当前申请(专利权)人
哈尔滨工业大学(威海)
发明人
孙明健 | 马立勇 | 冯乃章 | 沈毅
简单同族
CN101690672A
简单同族成员数量
1
简单同族被引用专利总数
19
诉讼案件数
0
法律状态/事件
撤回
抱歉,您的浏览器不支持PDF预览,请点击链接下载PDF文件