专利数据库
统计分析
产业报告
专利数据监控
产业人才
行业动态
产业政策法规
维权援助
个人中心
详情
文本
图像
标题
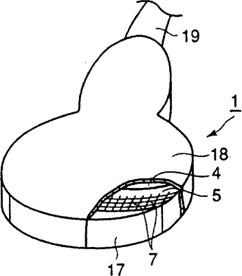
凸面型超声波探头和超声波诊断装置
授权日
1900-01-01
公开(公告)号
CN1892211A
申请日
2006-07-03
公开(公告)日
2007-01-10
当前申请(专利权)人
株式会社东芝
发明人
山下洋八 | 细野靖晴
简单同族
CN1892211A | JP2007007262A | US20070016064A1
简单同族成员数量
3
简单同族被引用专利总数
29
诉讼案件数
0
法律状态/事件
撤回
抱歉,您的浏览器不支持PDF预览,请点击链接下载PDF文件