专利数据库
统计分析
产业报告
专利数据监控
产业人才
行业动态
产业政策法规
维权援助
个人中心
详情
文本
图像
标题
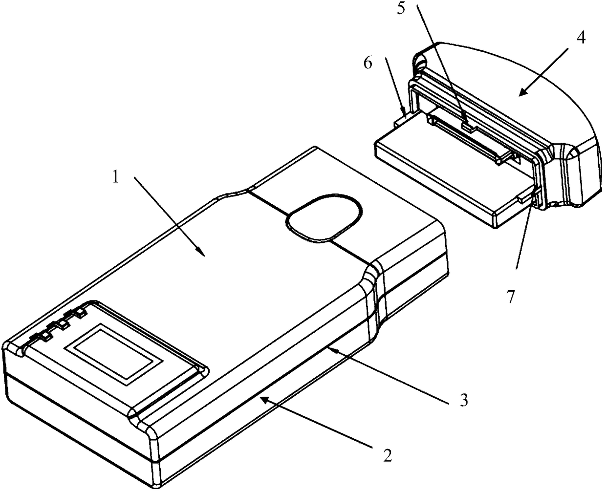
一种带防水结构的无线掌上超声多探头互换结构
授权日
2017-08-22
公开(公告)号
CN206424098U
申请日
2016-10-12
公开(公告)日
2017-08-22
当前申请(专利权)人
湖南润泽医疗影像科技有限公司
发明人
夏云帆 | 高兴斌 | 李青
简单同族
CN206424098U
简单同族成员数量
1
简单同族被引用专利总数
0
诉讼案件数
0
法律状态/事件
授权
抱歉,您的浏览器不支持PDF预览,请点击链接下载PDF文件