专利数据库
统计分析
产业报告
专利数据监控
产业人才
行业动态
产业政策法规
维权援助
个人中心
详情
文本
图像
标题
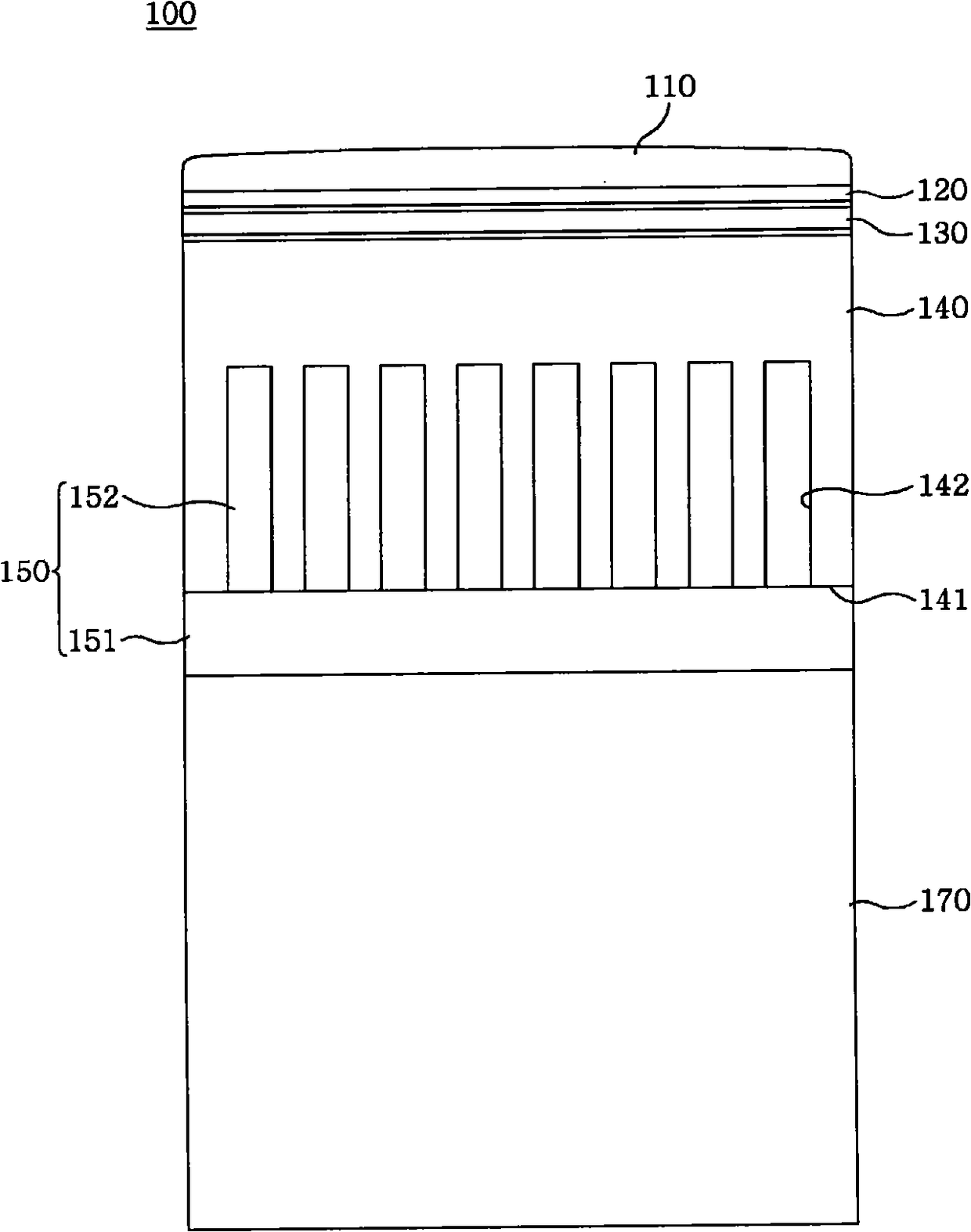
具有热沉的超声波探头
授权日
1900-01-01
公开(公告)号
CN102098965A
申请日
2009-07-06
公开(公告)日
2011-06-15
当前申请(专利权)人
人体扫描有限公司
发明人
林圣珉
简单同族
CN102098965A | EP2309930A1 | EP2309930A4 | JP2011528929A | KR101018626B1 | KR1020100010358A | US20110114303A1 | WO2010011034A1
简单同族成员数量
8
简单同族被引用专利总数
36
诉讼案件数
0
法律状态/事件
撤回
抱歉,您的浏览器不支持PDF预览,请点击链接下载PDF文件