专利数据库
统计分析
产业报告
专利数据监控
产业人才
行业动态
产业政策法规
维权援助
个人中心
详情
文本
图像
标题
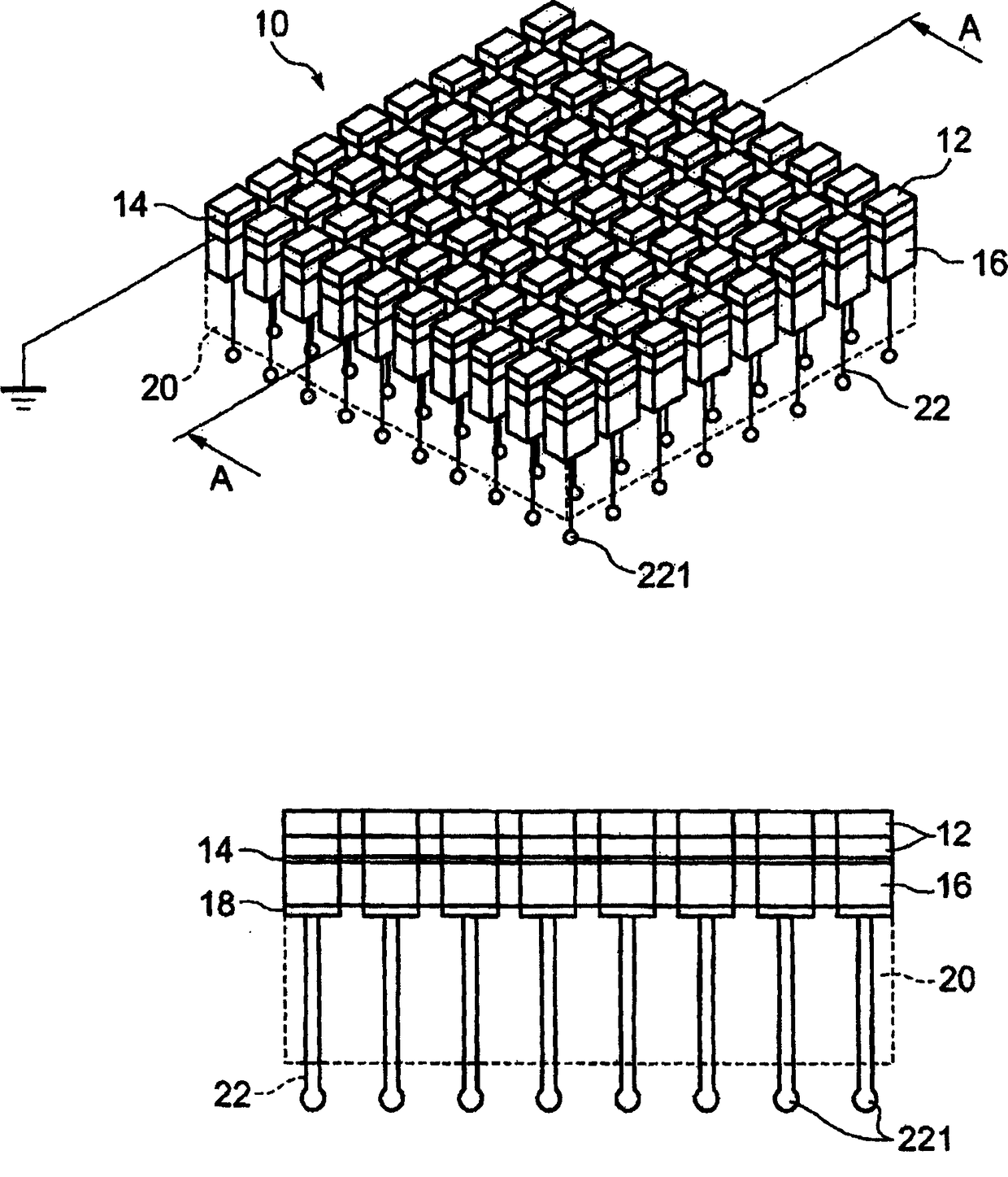
超声波探头
授权日
2012-01-11
公开(公告)号
CN1802036B
申请日
2005-10-14
公开(公告)日
2012-01-11
当前申请(专利权)人
东芝医疗系统株式会社
发明人
手塚智
简单同族
CN1802036A | CN1802036B | JP2006110140A | JP4575108B2 | US20070244392A1 | US7654961
简单同族成员数量
6
简单同族被引用专利总数
32
诉讼案件数
0
法律状态/事件
授权 | 权利转移
抱歉,您的浏览器不支持PDF预览,请点击链接下载PDF文件