专利数据库
统计分析
产业报告
专利数据监控
产业人才
行业动态
产业政策法规
维权援助
个人中心
详情
文本
图像
标题
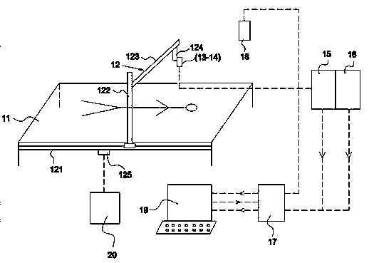
远程检查控制装置
授权日
2018-11-16
公开(公告)号
CN208096761U
申请日
2018-01-18
公开(公告)日
2018-11-16
当前申请(专利权)人
中实医疗科技江苏有限公司
发明人
左峰
简单同族
CN208096761U
简单同族成员数量
1
简单同族被引用专利总数
0
诉讼案件数
0
法律状态/事件
授权
抱歉,您的浏览器不支持PDF预览,请点击链接下载PDF文件