专利数据库
统计分析
产业报告
专利数据监控
产业人才
行业动态
产业政策法规
维权援助
个人中心
详情
文本
图像
标题
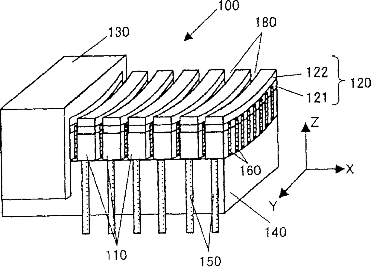
超声波探头
授权日
2011-05-18
公开(公告)号
CN101431941B
申请日
2007-04-27
公开(公告)日
2011-05-18
当前申请(专利权)人
柯尼卡美能达株式会社
发明人
齐藤孝悦
简单同族
CN101431941A | CN101431941B | EP2014236A1 | EP2014236A4 | JP4990272B2 | JPWO2007126069A1 | KR101012558B1 | KR1020090009836A | RU2008146981A | RU2423076C2 | US20090069691A1 | US8562534 | WO2007126069A1
简单同族成员数量
13
简单同族被引用专利总数
26
诉讼案件数
0
法律状态/事件
授权 | 权利转移
抱歉,您的浏览器不支持PDF预览,请点击链接下载PDF文件