专利数据库
统计分析
产业报告
专利数据监控
产业人才
行业动态
产业政策法规
维权援助
个人中心
详情
文本
图像
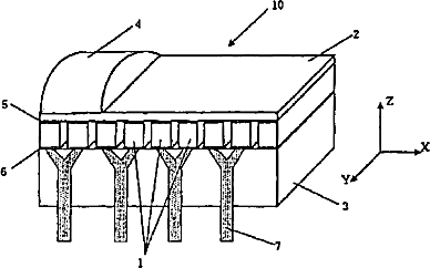
标题
超声波探针
授权日
1900-01-01
公开(公告)号
CN101379871A
申请日
2007-01-25
公开(公告)日
2009-03-04
当前申请(专利权)人
柯尼卡美能达株式会社
发明人
齐藤孝悦
简单同族
CN101379871A | CN101379871B | EP1981308A1 | EP1981308A4 | JP5037362B2 | JPWO2007088772A1 | KR101464769B1 | KR1020080094020A | KR1020130080860A | RU2008135361A | RU2419388C2 | US20090062655A1 | US20130245453A1 | US8454518 | US8986213 | WO2007088772A1
简单同族成员数量
16
简单同族被引用专利总数
24
诉讼案件数
0
法律状态/事件
授权 | 权利转移
抱歉,您的浏览器不支持PDF预览,请点击链接下载PDF文件