专利数据库
统计分析
产业报告
专利数据监控
产业人才
行业动态
产业政策法规
维权援助
个人中心
详情
文本
图像
标题
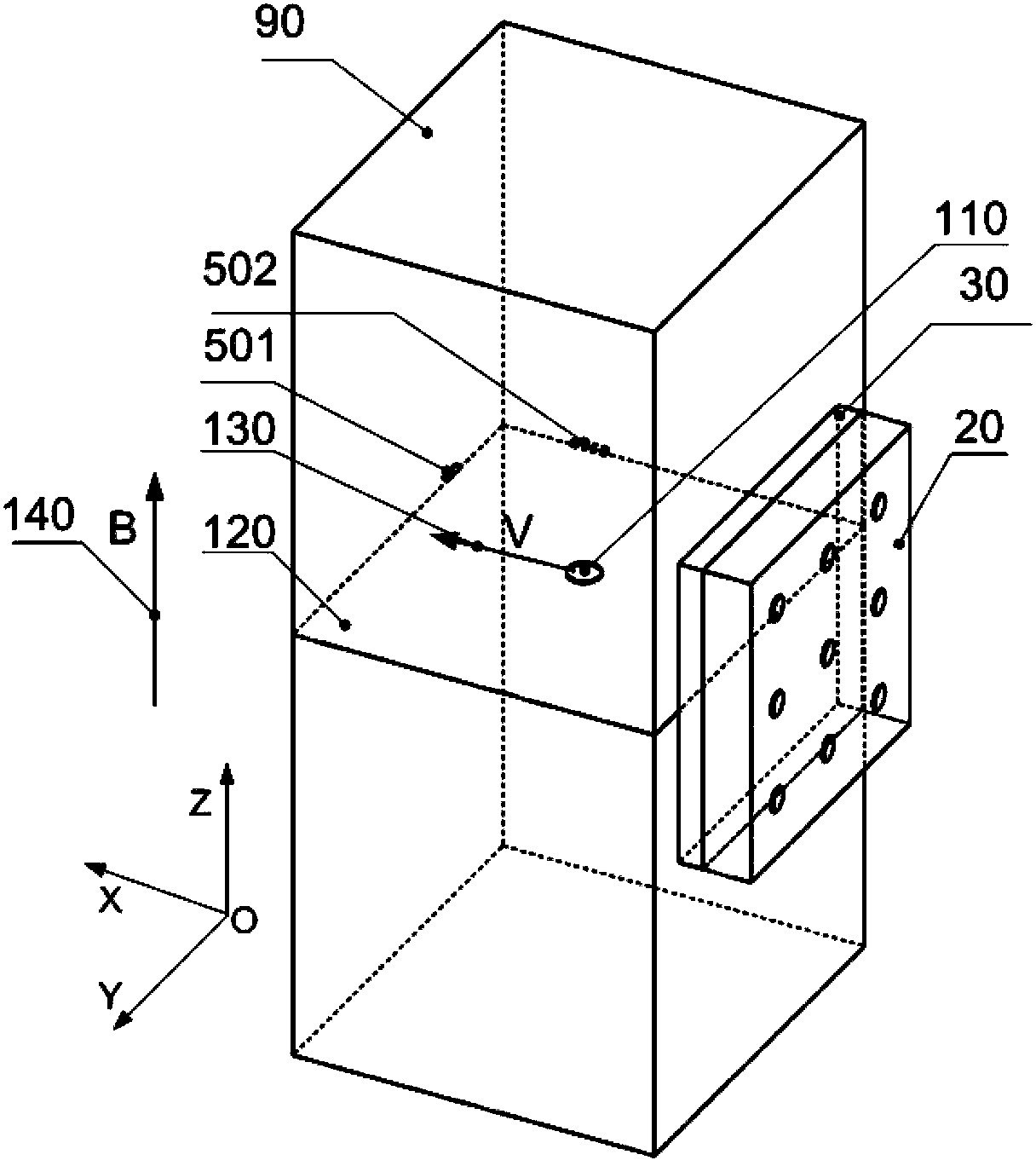
一种磁声电成像系统及成像方法
授权日
2014-08-06
公开(公告)号
CN102894974B
申请日
2012-10-16
公开(公告)日
2014-08-06
当前申请(专利权)人
中国科学院电工研究所
发明人
刘国强 | 陆敏华 | 夏慧 | 李士强 | 张洋 | 李艳红 | 夏正武 | 王霜 | 黄欣
简单同族
CN102894974A | CN102894974B
简单同族成员数量
2
简单同族被引用专利总数
31
诉讼案件数
0
法律状态/事件
授权
抱歉,您的浏览器不支持PDF预览,请点击链接下载PDF文件