专利数据库
统计分析
产业报告
专利数据监控
产业人才
行业动态
产业政策法规
维权援助
个人中心
详情
文本
图像
标题
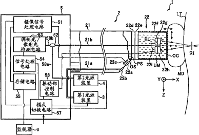
医疗器具
授权日
1900-01-01
公开(公告)号
CN101268952A
申请日
2008-03-24
公开(公告)日
2008-09-24
当前申请(专利权)人
奥林巴斯医疗株式会社
发明人
五十岚诚 | 后野和弘
简单同族
CN101268952A | EP1972263A2 | EP1972263A3 | JP2008237235A | KR1020080086836A | US20090043156A1
简单同族成员数量
6
简单同族被引用专利总数
19
诉讼案件数
0
法律状态/事件
撤回
抱歉,您的浏览器不支持PDF预览,请点击链接下载PDF文件