专利数据库
统计分析
产业报告
专利数据监控
产业人才
行业动态
产业政策法规
维权援助
个人中心
详情
文本
图像
标题
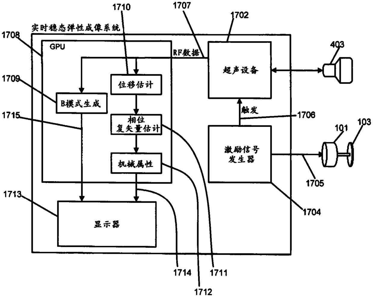
使用薄体积的超声成像的弹性成像
授权日
2016-03-30
公开(公告)号
CN103857343B
申请日
2012-08-17
公开(公告)日
2016-03-30
当前申请(专利权)人
不列颠哥伦比亚大学
发明人
阿里·巴加尼 | 哈尼·伊斯坎达里 | 罗伯特·N·罗林 | 塞普蒂默·E·萨尔库代安
简单同族
CA2845404A1 | CN103857343A | CN103857343B | US10667791 | US20140330122A1 | WO2013026141A1
简单同族成员数量
6
简单同族被引用专利总数
25
诉讼案件数
0
法律状态/事件
授权
抱歉,您的浏览器不支持PDF预览,请点击链接下载PDF文件