专利数据库
统计分析
产业报告
专利数据监控
产业人才
行业动态
产业政策法规
维权援助
个人中心
详情
文本
图像
标题
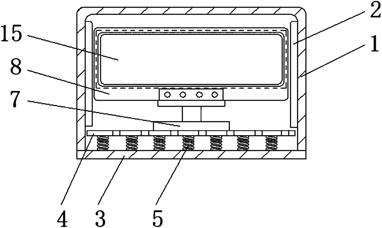
一种光致发光彩色液晶显示器
授权日
2018-09-04
公开(公告)号
CN207818120U
申请日
2018-02-10
公开(公告)日
2018-09-04
当前申请(专利权)人
高安市华显晶显示技术有限公司
发明人
龙庆平 | 龙庆勇
简单同族
CN207818120U
简单同族成员数量
1
简单同族被引用专利总数
0
诉讼案件数
0
法律状态/事件
授权
抱歉,您的浏览器不支持PDF预览,请点击链接下载PDF文件