专利数据库
统计分析
产业报告
专利数据监控
产业人才
行业动态
产业政策法规
维权援助
个人中心
详情
文本
图像
标题
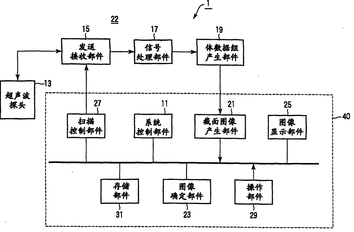
超声波诊断装置和医用图像显示装置
授权日
2012-03-28
公开(公告)号
CN101396288B
申请日
2008-09-26
公开(公告)日
2012-03-28
当前申请(专利权)人
东芝医疗系统株式会社
发明人
郡司隆之 | 樋口治郎 | 后藤英二 | 中岛修
简单同族
CN101396288A | CN101396288B | JP2009077961A | JP5366385B2 | US20090082675A1 | US8366621
简单同族成员数量
6
简单同族被引用专利总数
20
诉讼案件数
0
法律状态/事件
授权 | 权利转移
抱歉,您的浏览器不支持PDF预览,请点击链接下载PDF文件