专利数据库
统计分析
产业报告
专利数据监控
产业人才
行业动态
产业政策法规
维权援助
个人中心
详情
文本
图像
标题
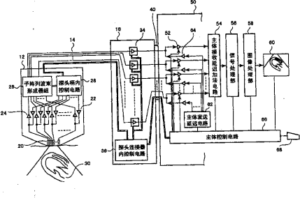
超声波诊断装置及超声波诊断系统
授权日
2010-06-02
公开(公告)号
CN101103928B
申请日
2007-07-13
公开(公告)日
2010-06-02
当前申请(专利权)人
东芝医疗系统株式会社
发明人
本乡宏信
简单同族
CN101103928A | CN101103928B | JP2008018087A | JP4795878B2 | US20080015437A1 | US8932222
简单同族成员数量
6
简单同族被引用专利总数
23
诉讼案件数
0
法律状态/事件
授权 | 权利转移
抱歉,您的浏览器不支持PDF预览,请点击链接下载PDF文件