专利数据库
统计分析
产业报告
专利数据监控
产业人才
行业动态
产业政策法规
维权援助
个人中心
详情
文本
图像
标题
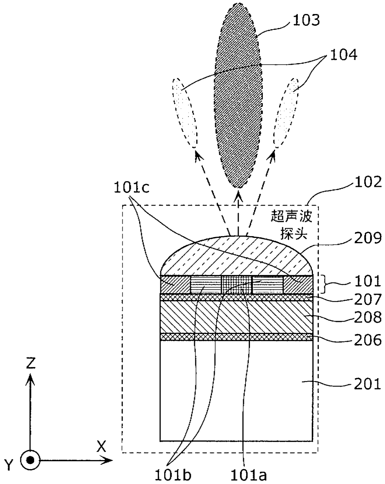
超声波探头和超声波诊断装置
授权日
1900-01-01
公开(公告)号
CN102959993A
申请日
2012-02-13
公开(公告)日
2013-03-06
当前申请(专利权)人
柯尼卡美能达株式会社
发明人
楠龟弘一 | 小椋高志 | 永田贵之
简单同族
CN102959993A | CN102959993B | JP5807206B2 | JPWO2012144117A1 | US20130090561A1 | US9186126 | WO2012144117A1
简单同族成员数量
7
简单同族被引用专利总数
25
诉讼案件数
0
法律状态/事件
授权 | 权利转移
抱歉,您的浏览器不支持PDF预览,请点击链接下载PDF文件