专利数据库
统计分析
产业报告
专利数据监控
产业人才
行业动态
产业政策法规
维权援助
个人中心
详情
文本
图像
标题
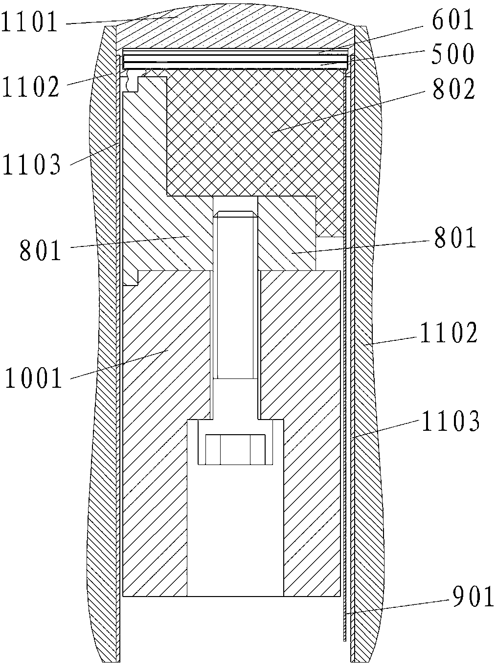
一种超声阵列探头信号采集元件及其探头与其制备方法
授权日
1900-01-01
公开(公告)号
CN103300889A
申请日
2013-05-17
公开(公告)日
2013-09-18
当前申请(专利权)人
深圳市理邦精密仪器股份有限公司
发明人
周丹 | 罗华 | 蔡文忠 | 欧阳波
简单同族
CN103300889A | CN103300889B
简单同族成员数量
2
简单同族被引用专利总数
20
诉讼案件数
0
法律状态/事件
授权
抱歉,您的浏览器不支持PDF预览,请点击链接下载PDF文件