专利数据库
统计分析
产业报告
专利数据监控
产业人才
行业动态
产业政策法规
维权援助
个人中心
详情
文本
图像
标题
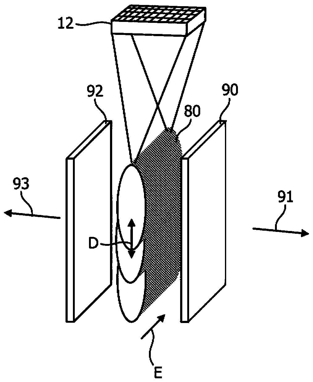
用于超声材料特性测量和成像的超声波声辐射力激励的系统
授权日
2016-11-02
公开(公告)号
CN103260527B
申请日
2011-12-02
公开(公告)日
2016-11-02
当前申请(专利权)人
皇家飞利浦电子股份有限公司
发明人
J·D·弗雷泽 | R·彼德森 | J-L·罗贝尔 | V·沙姆达莎尼 | H·谢
简单同族
BR112013014423A2 | CN103260527A | CN103260527B | EP2651306A2 | JP2013544614A | JP5868419B2 | RU2013132470A | RU2576244C2 | US10448924 | US20140005548A1 | WO2012080895A2 | WO2012080895A3
简单同族成员数量
12
简单同族被引用专利总数
18
诉讼案件数
0
法律状态/事件
授权
抱歉,您的浏览器不支持PDF预览,请点击链接下载PDF文件