专利数据库
统计分析
产业报告
专利数据监控
产业人才
行业动态
产业政策法规
维权援助
个人中心
详情
文本
图像
标题
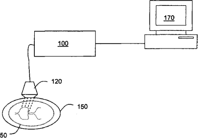
用于对血管成像的方法和系统
授权日
1900-01-01
公开(公告)号
CN101889216A
申请日
2008-12-08
公开(公告)日
2010-11-17
当前申请(专利权)人
皇家飞利浦电子股份有限公司
发明人
X·史
简单同族
AT545874T | BRPI0820097A2 | CN101889216A | EP2232299A1 | EP2232299B1 | JP2011505898A | RU2010128099A | US20100249597A1 | WO2009072092A1
简单同族成员数量
9
简单同族被引用专利总数
26
诉讼案件数
0
法律状态/事件
撤回
抱歉,您的浏览器不支持PDF预览,请点击链接下载PDF文件