专利数据库
统计分析
产业报告
专利数据监控
产业人才
行业动态
产业政策法规
维权援助
个人中心
详情
文本
图像
标题
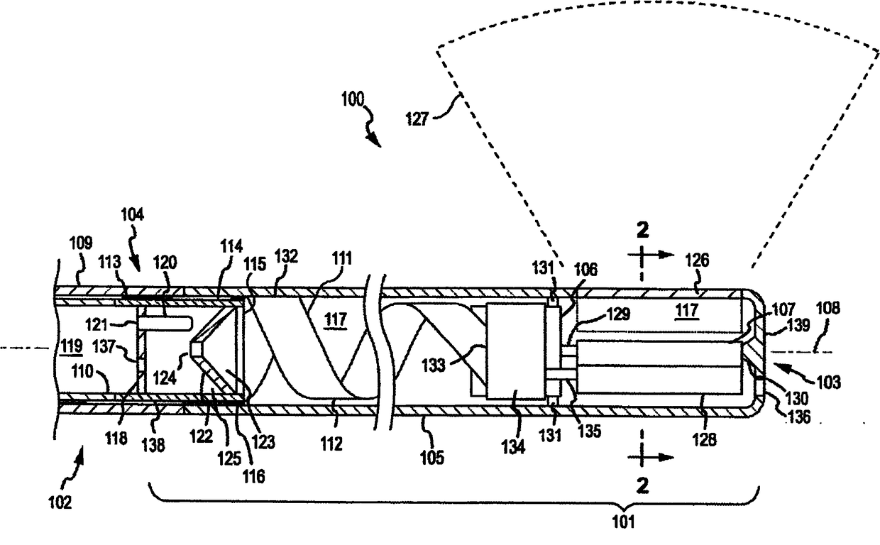
实时超声波导管探测器
授权日
1900-01-01
公开(公告)号
CN102076265A
申请日
2009-06-01
公开(公告)日
2011-05-25
当前申请(专利权)人
W.L.戈尔及同仁股份有限公司 | W.L.戈尔有限公司
发明人
D・R・迪茨 | C・G・奥克利 | J・哈夫特曼 | R・C・帕特森
简单同族
AU2009251259A1 | AU2009251259B2 | CA2725357A1 | CA2725357C | CA2835549A1 | CA2835549C | CA2835552A1 | CN102076265A | CN102076265B | EP2280652A2 | EP2280652A4 | JP2011521745A | JP2014128728A | JP2015037758A | JP5659153B2 | US20100036258A1 | US20110237955A1 | US8500648 | US8535232 | WO2009146458A2 | WO2009146458A3
简单同族成员数量
21
简单同族被引用专利总数
50
诉讼案件数
0
法律状态/事件
未缴年费 | 权利转移
抱歉,您的浏览器不支持PDF预览,请点击链接下载PDF文件