专利数据库
统计分析
产业报告
专利数据监控
产业人才
行业动态
产业政策法规
维权援助
个人中心
详情
文本
图像
标题
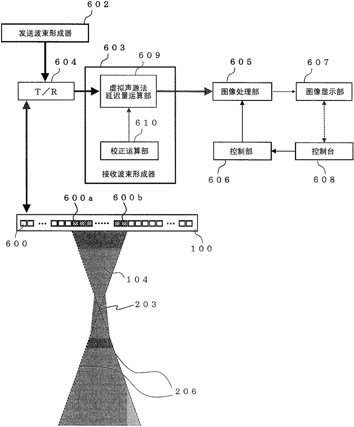
超声波成像装置
授权日
2018-01-19
公开(公告)号
CN105491954B
申请日
2014-07-17
公开(公告)日
2018-01-19
当前申请(专利权)人
株式会社日立制作所
发明人
高野慎太
简单同族
CN105491954A | CN105491954B | JP6035424B2 | JPWO2015025655A1 | US20160174938A1 | WO2015025655A1
简单同族成员数量
6
简单同族被引用专利总数
29
诉讼案件数
0
法律状态/事件
授权 | 权利转移
抱歉,您的浏览器不支持PDF预览,请点击链接下载PDF文件