专利数据库
统计分析
产业报告
专利数据监控
产业人才
行业动态
产业政策法规
维权援助
个人中心
详情
文本
图像
标题
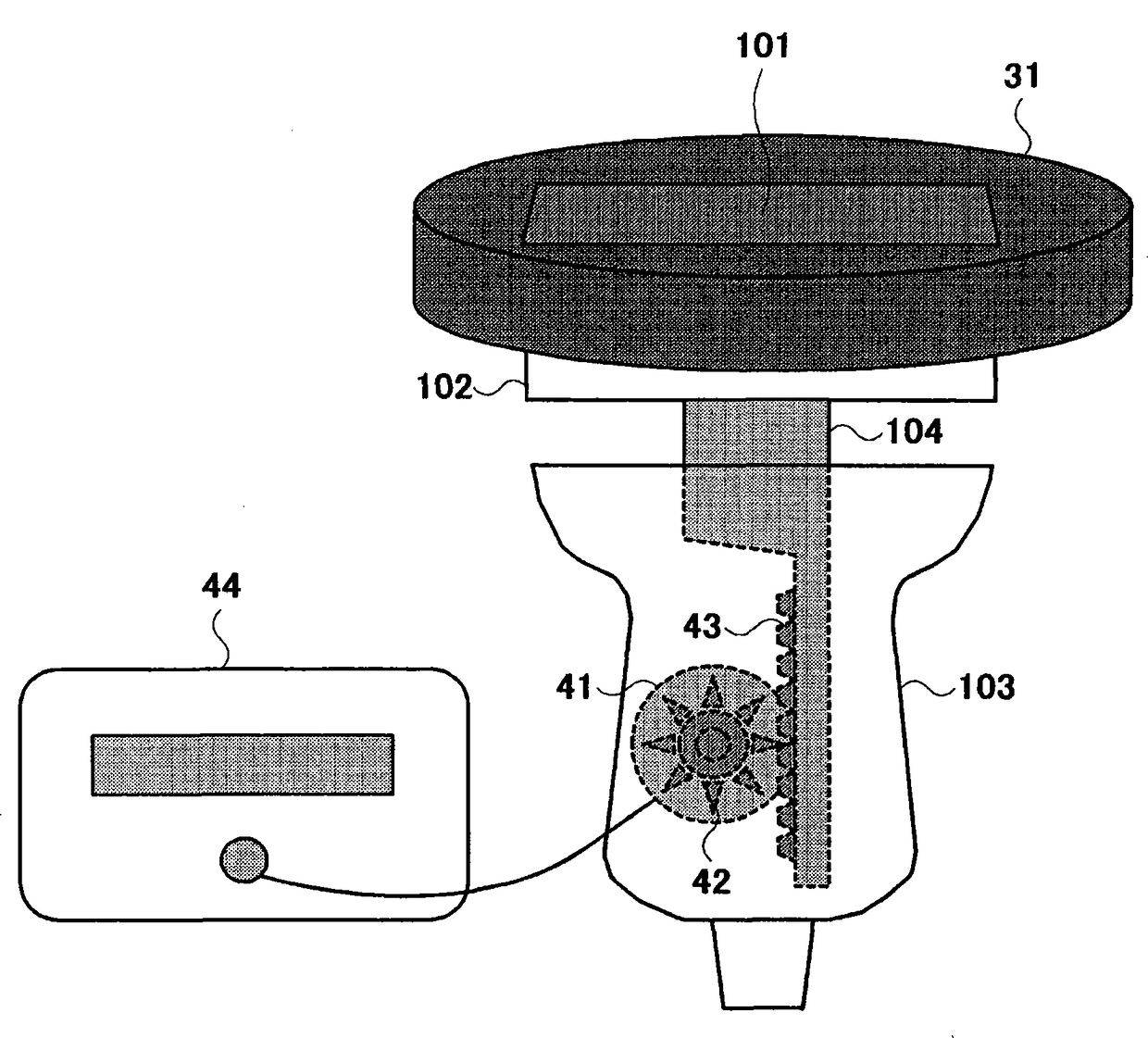
超声波探头以及超声波成像装置
授权日
2013-02-06
公开(公告)号
CN101912275B
申请日
2005-10-11
公开(公告)日
2013-02-06
当前申请(专利权)人
株式会社日立医药
发明人
松村刚
简单同族
CN101912275A | CN101912275B | EP1803404A1 | EP1803404A4 | EP1803404B1 | JPWO2006041050A1 | US20080033295A1 | WO2006041050A1
简单同族成员数量
8
简单同族被引用专利总数
39
诉讼案件数
0
法律状态/事件
未缴年费
抱歉,您的浏览器不支持PDF预览,请点击链接下载PDF文件