专利数据库
统计分析
产业报告
专利数据监控
产业人才
行业动态
产业政策法规
维权援助
个人中心
详情
文本
图像
标题
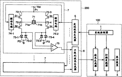
超声波探头和超声波诊断装置
授权日
1900-01-01
公开(公告)号
CN1957851A
申请日
2006-10-31
公开(公告)日
2007-05-09
当前申请(专利权)人
株式会社东芝 | 东芝医疗系统株式会社
发明人
岩间信行
简单同族
CN1957851A | CN1957851B | JP2007117668A | US20070106159A1 | US8030822
简单同族成员数量
5
简单同族被引用专利总数
18
诉讼案件数
0
法律状态/事件
未缴年费
抱歉,您的浏览器不支持PDF预览,请点击链接下载PDF文件