专利数据库
统计分析
产业报告
专利数据监控
产业人才
行业动态
产业政策法规
维权援助
个人中心
详情
文本
图像
标题
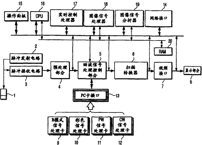
超声诊断设备
授权日
1900-01-01
公开(公告)号
CN1701759A
申请日
2001-10-30
公开(公告)日
2005-11-30
当前申请(专利权)人
东芝医疗系统株式会社
发明人
佐野昭洋 | 桥本敬介
简单同族
CN100400001C | CN1239126C | CN1473023A | CN1701759A | EP1336378A1 | EP1336378A4 | EP1336378B1 | JP2002136512A | JP4664479B2 | US20030191389A1 | US7060032 | WO2002036014A1
简单同族成员数量
12
简单同族被引用专利总数
67
诉讼案件数
0
法律状态/事件
未缴年费 | 权利转移
抱歉,您的浏览器不支持PDF预览,请点击链接下载PDF文件