专利数据库
统计分析
产业报告
专利数据监控
产业人才
行业动态
产业政策法规
维权援助
个人中心
详情
文本
图像
标题
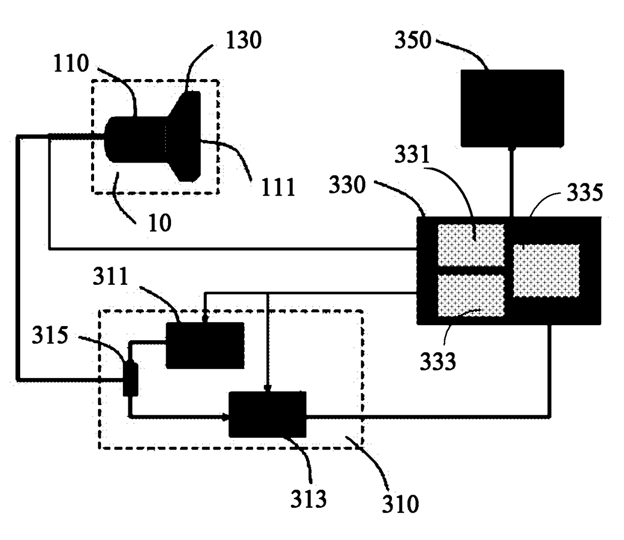
弹性测量的超声成像系统及测量生物组织弹性的方法
授权日
1900-01-01
公开(公告)号
CN102283679A
申请日
2011-08-04
公开(公告)日
2011-12-21
当前申请(专利权)人
乐普(北京)医疗器械股份有限公司
发明人
郑海荣 | 凌涛 | 李彦明 | 姚慧 | 曾成志
简单同族
CN102283679A | CN102283679B | WO2013017105A1
简单同族成员数量
3
简单同族被引用专利总数
37
诉讼案件数
0
法律状态/事件
授权 | 权利转移
抱歉,您的浏览器不支持PDF预览,请点击链接下载PDF文件