专利数据库
统计分析
产业报告
专利数据监控
产业人才
行业动态
产业政策法规
维权援助
个人中心
详情
文本
图像
标题
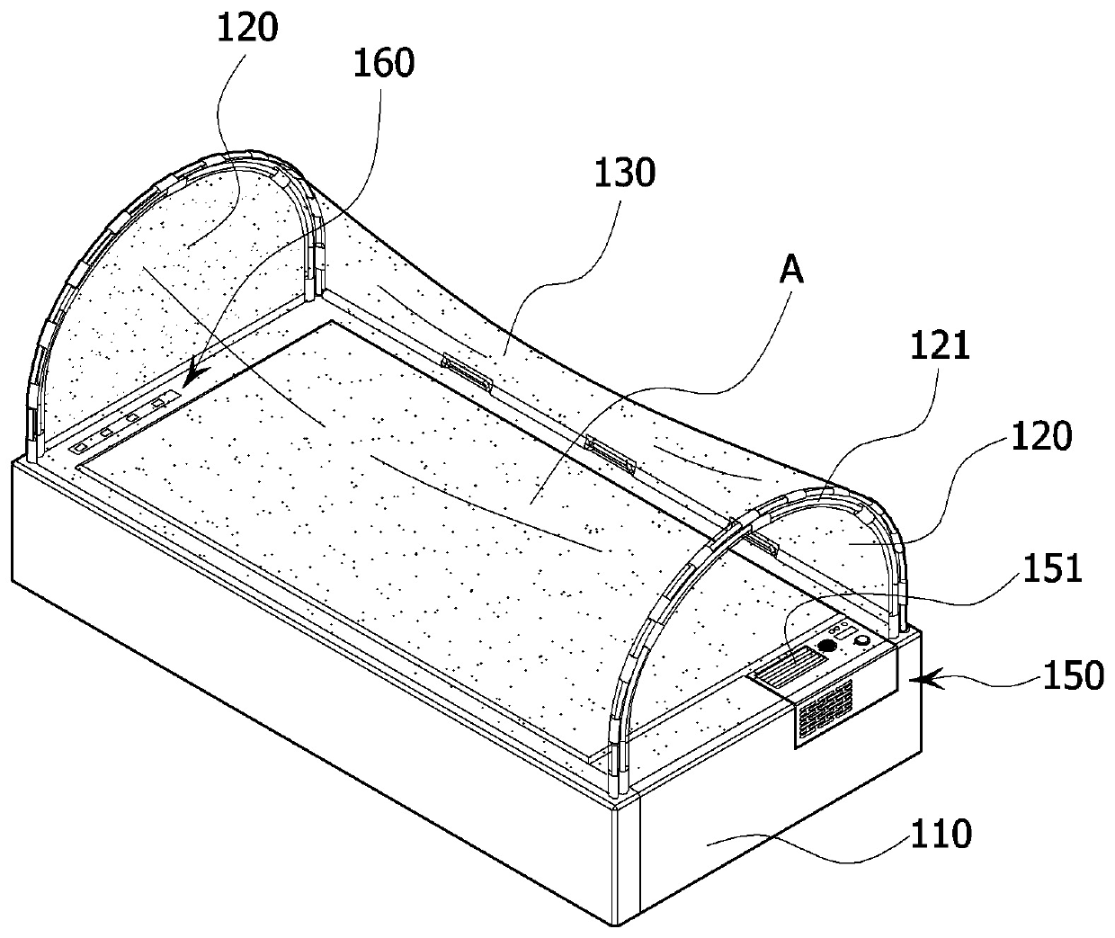
아토피환자를 위한 사물인터넷방식의 스마트 침대
授权日
1900-01-01
公开(公告)号
KR1020190084496A
申请日
2018-01-08
公开(公告)日
2019-07-17
当前申请(专利权)人
정관선 | 방극정 | 김훈희
发明人
정관선 | 김훈희 | 방극정
简单同族
KR1020190084496A
简单同族成员数量
1
简单同族被引用专利总数
0
诉讼案件数
0
法律状态/事件
驳回
抱歉,您的浏览器不支持PDF预览,请点击链接下载PDF文件