专利数据库
统计分析
产业报告
专利数据监控
产业人才
行业动态
产业政策法规
维权援助
个人中心
详情
文本
图像
标题
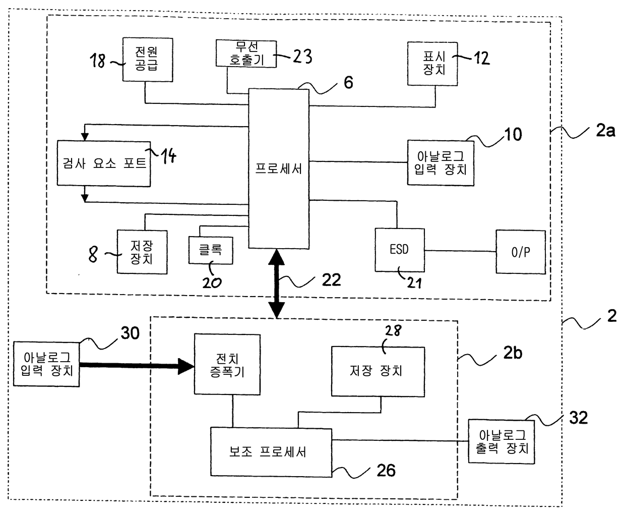
모니터 장치
授权日
1900-01-01
公开(公告)号
KR1020090087014A
申请日
2007-12-14
公开(公告)日
2009-08-14
当前申请(专利权)人
에고메디칼 스위스 아게
发明人
스티에네,마티아스스티에네 | 조네스,에우리그윈
简单同族
AU2007331669A1 | BRPI0720061A2 | CA2672365A1 | CN101563693A | CR10840A | IL198593D0 | KR1020090087014A | MX2009005885A | NO20092595L | RU2009126612A | US20100152554A1 | WO2008071218A1 | WO2008071444A1 | ZA200903006B
简单同族成员数量
14
简单同族被引用专利总数
209
诉讼案件数
0
法律状态/事件
撤回
抱歉,您的浏览器不支持PDF预览,请点击链接下载PDF文件