专利数据库
统计分析
产业报告
专利数据监控
产业人才
行业动态
产业政策法规
维权援助
个人中心
详情
文本
图像
标题
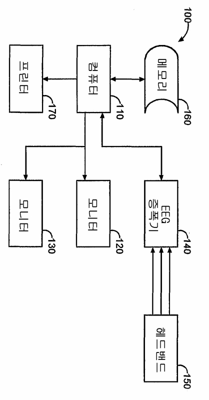
뇌지문의 채취와, 뇌기능의 측정, 평가 및 분석을 위한장치 및 방법
授权日
1900-01-01
公开(公告)号
KR1020040019013A
申请日
2002-06-07
公开(公告)日
2004-03-04
当前申请(专利权)人
파웰 로렌스
发明人
FARWELL, LAWRENCE
简单同族
CA2449727A1 | EP1401330A2 | EP1401330A4 | IL159235D0 | JP2004535231A | KR1020040019013A | PL369935A1 | RU2004100235A | US20020188217A1 | US7689272 | WO2002100241A2 | WO2002100241A3
简单同族成员数量
12
简单同族被引用专利总数
172
诉讼案件数
0
法律状态/事件
撤回
抱歉,您的浏览器不支持PDF预览,请点击链接下载PDF文件