专利数据库
统计分析
产业报告
专利数据监控
产业人才
行业动态
产业政策法规
维权援助
个人中心
详情
文本
图像
标题
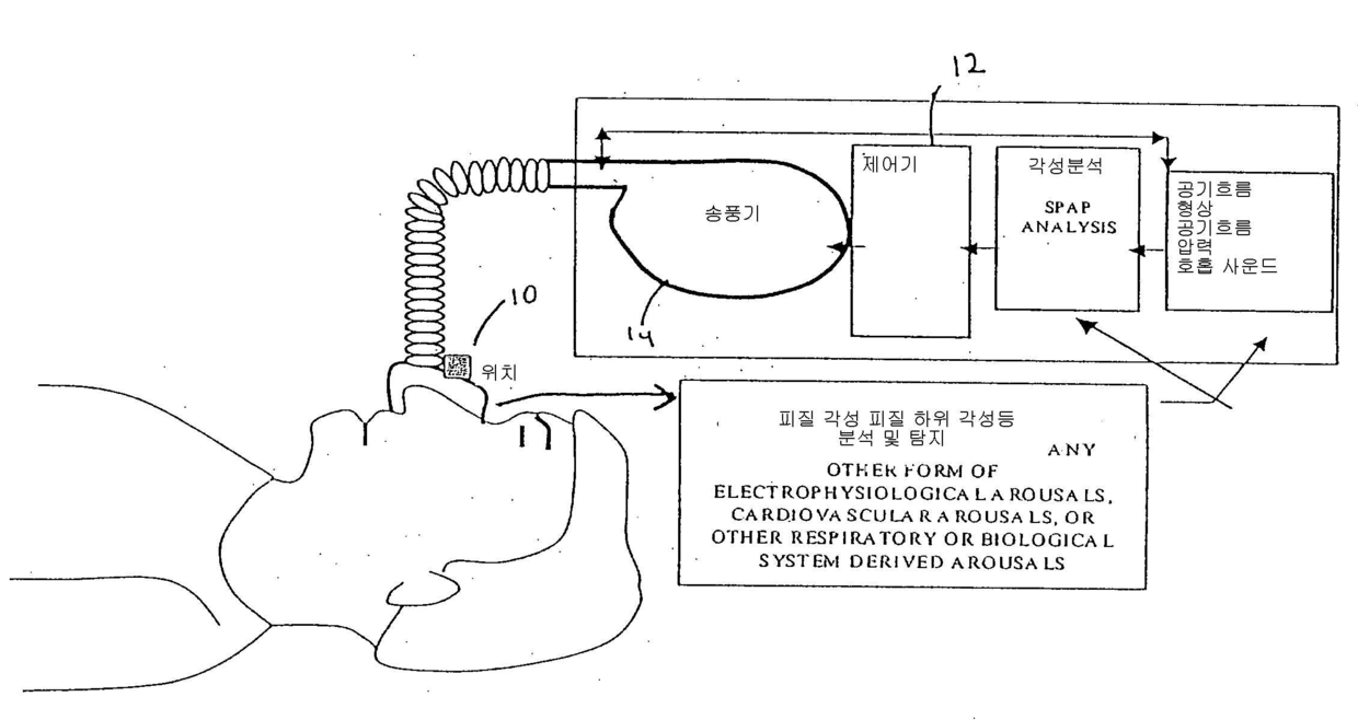
치료 처리중 수면 품질을 유지하고 모니터하기 위한 방법및 장치
授权日
1900-01-01
公开(公告)号
KR1020050072435A
申请日
2003-10-09
公开(公告)日
2005-07-11
当前申请(专利权)人
컴퓨메딕스 리미티드
发明人
버튼,데이비드 | 질버그,유지니
简单同族
HK1085636A1 | IS7788A | JP2010104814A | KR1020050072435A | MXPA05003815A | NO20052237D0 | NO20052237L | US20050217674A1 | US20110192400A9 | US20120130205A1 | US20120132202A1 | US20120136405A1 | US8069852
简单同族成员数量
13
简单同族被引用专利总数
189
诉讼案件数
0
法律状态/事件
驳回 | 复审
抱歉,您的浏览器不支持PDF预览,请点击链接下载PDF文件