专利数据库
统计分析
产业报告
专利数据监控
产业人才
行业动态
产业政策法规
维权援助
个人中心
详情
文本
图像
标题
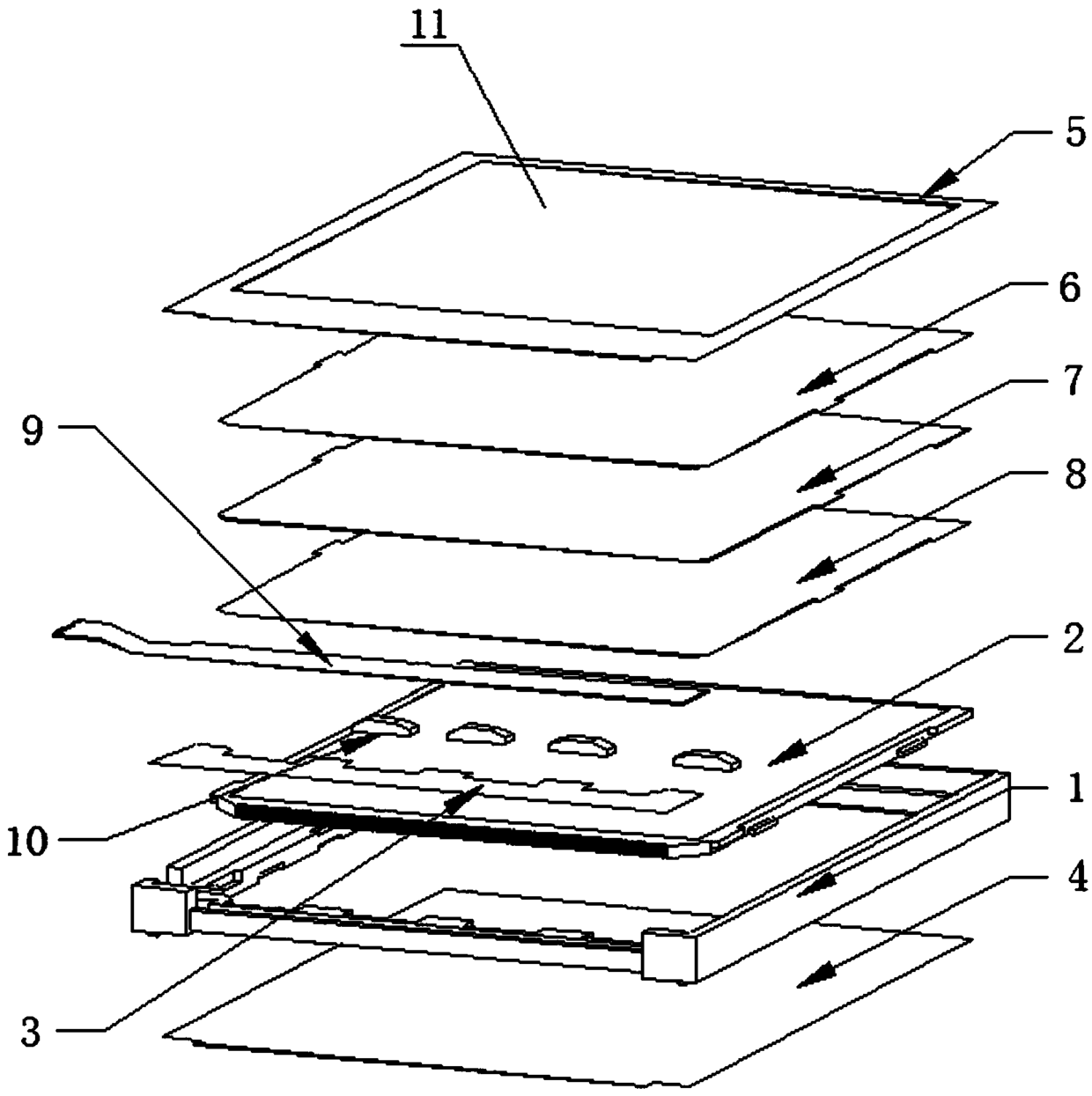
一种高亮液晶显示模组
授权日
2015-12-16
公开(公告)号
CN204883125U
申请日
2015-09-01
公开(公告)日
2015-12-16
当前申请(专利权)人
深圳市易快来科技股份有限公司
发明人
申小玲 | 鲁超会
简单同族
CN204883125U
简单同族成员数量
1
简单同族被引用专利总数
0
诉讼案件数
0
法律状态/事件
授权 | 质押
抱歉,您的浏览器不支持PDF预览,请点击链接下载PDF文件