专利数据库
统计分析
产业报告
专利数据监控
产业人才
行业动态
产业政策法规
维权援助
个人中心
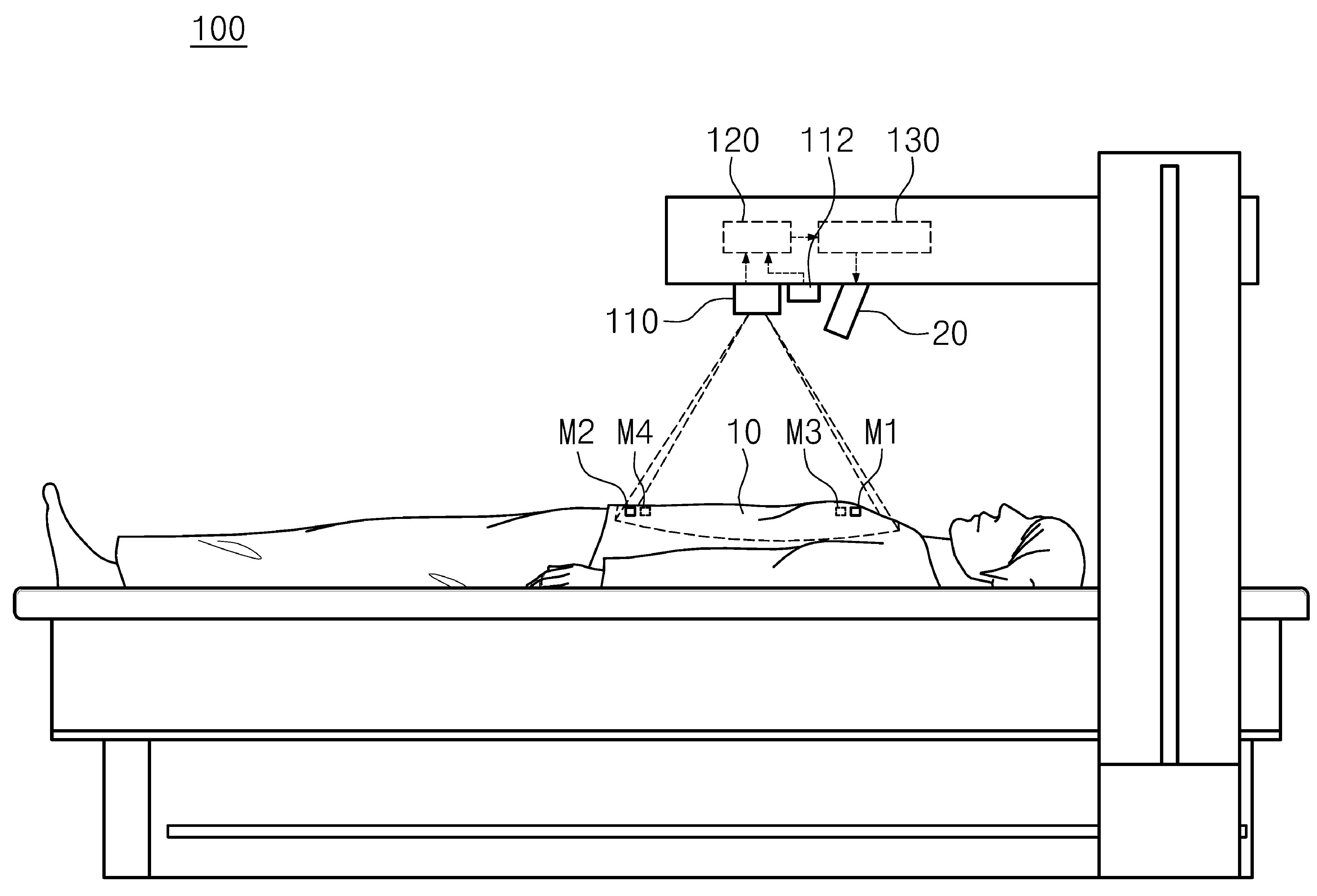
详情
文本
图像
标题
발명의 명칭 호흡 운동 측정 장치 및 방법
授权日
2016-09-22
公开(公告)号
KR101660832B1
申请日
2015-12-29
公开(公告)日
2016-10-10
当前申请(专利权)人
경북대학교 산학협력단
发明人
박순용 | 우다야위제나야키
简单同族
KR101660832B1
简单同族成员数量
1
简单同族被引用专利总数
0
诉讼案件数
0
法律状态/事件
授权
抱歉,您的浏览器不支持PDF预览,请点击链接下载PDF文件