专利数据库
统计分析
产业报告
专利数据监控
产业人才
行业动态
产业政策法规
维权援助
个人中心
详情
文本
图像
标题
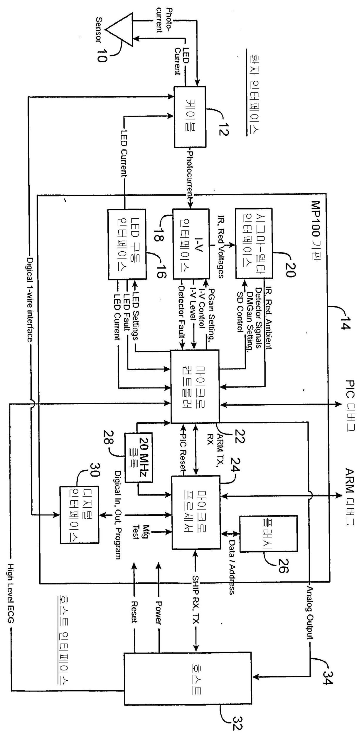
산소 포화도와 심박수에 대한 분리된 앙상블 평균을 갖는맥박 산소측정기
授权日
1900-01-01
公开(公告)号
KR1020070004803A
申请日
2005-03-07
公开(公告)日
2007-01-09
当前申请(专利权)人
넬커 퓨리탄 베네트 엘엘씨
发明人
BAKER JR., CLARK R.
简单同族
AT466523T | AU2005221651A1 | CA2557950A1 | CA2557950C | CN1933773A | DE602005021086D1 | EP1737337A1 | EP1737337B1 | ES2342945T3 | HK1102321A | JP2007527771A | JP4700682B2 | KR1020070004803A | MXPA06010305A | NZ549512A | NZ549512B | US20050197793A1 | US20060195280A1 | US7039538 | US7209774 | WO2005087094A1
简单同族成员数量
21
简单同族被引用专利总数
188
诉讼案件数
0
法律状态/事件
撤回
抱歉,您的浏览器不支持PDF预览,请点击链接下载PDF文件