专利数据库
统计分析
产业报告
专利数据监控
产业人才
行业动态
产业政策法规
维权援助
个人中心
详情
文本
图像
标题
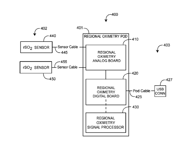
Regional oximetry pod
授权日
2017-12-12
公开(公告)号
US9839379
申请日
2014-10-06
公开(公告)日
2017-12-12
当前申请(专利权)人
MASIMO CORPORATION
发明人
AL-ALI, AMMAR | FORREST, KEVIN | DALKE, DAVID | WEBER, WALTER M.
简单同族
EP3054848A1 | EP3054848B1 | EP3054849A2 | JP2016532467A | JP2016533778A | JP2019080986A | JP6484230B2 | US10010276 | US10617335 | US20150099950A1 | US20150099951A1 | US20150099955A1 | US20180146901A1 | US20180168491A1 | US20190029578A1 | US20200163598A1 | US9839379 | WO2015054161A2 | WO2015054161A3 | WO2015054166A1
简单同族成员数量
20
简单同族被引用专利总数
169
诉讼案件数
0
法律状态/事件
授权 | 权利转移
抱歉,您的浏览器不支持PDF预览,请点击链接下载PDF文件