专利数据库
统计分析
产业报告
专利数据监控
产业人才
行业动态
产业政策法规
维权援助
个人中心
详情
文本
图像
标题
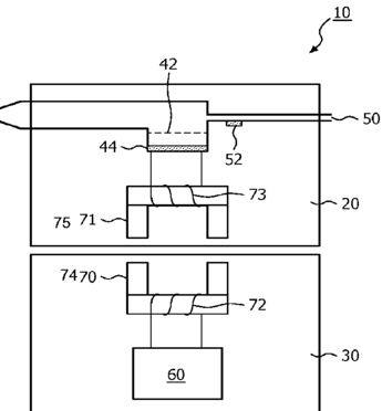
Nebulizer
授权日
2018-05-08
公开(公告)号
US9962505
申请日
2015-06-04
公开(公告)日
2018-05-08
当前申请(专利权)人
KONINKLIJKE PHILIPS N.V.
发明人
SCHIPPER, ALPHONSUS TARCISIUS JOZEF MARIA | LEPPARD, MICHAEL JAMES ROBBERT | DENYER, JONATHAN STANLEY HAROLD | DYCHE, ANTHONY | LULOFS, KLAAS JACOB | HAARTSEN, JACOB ROGER
简单同族
AU2009350114A1 | AU2009350114B2 | CN102469956A | CN102469956B | CN102470225A | CN102470225B | CN102472648A | CN102472648B | EP2456359A1 | EP2456359B1 | EP2456493A1 | EP2456493B1 | EP2457065A1 | JP2012533750A | JP2012533812A | JP5543592B2 | JP5580415B2 | RU2012106257A | RU2012106299A | RU2542778C2 | RU2559933C2 | US20120103085A1 | US20120109575A1 | US20120285447A1 | US20150273164A1 | US9060715 | US9072464 | US9962505 | US9974908 | WO2011010191A1 | WO2011010260A1 | WO2011010282A1
简单同族成员数量
32
简单同族被引用专利总数
81
诉讼案件数
0
法律状态/事件
授权
抱歉,您的浏览器不支持PDF预览,请点击链接下载PDF文件