专利数据库
统计分析
产业报告
专利数据监控
产业人才
行业动态
产业政策法规
维权援助
个人中心
详情
文本
图像
标题
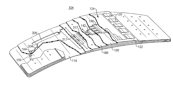
Personal diagnostic device having a fluidic circuit with a plurality of analysis chambers
授权日
2018-06-12
公开(公告)号
US9993189
申请日
2015-09-14
公开(公告)日
2018-06-12
当前申请(专利权)人
LIFE PATCH INTERNATIONAL
发明人
PHAN, BRIGITTE CHAU | PAL, ANDREW ATILLA | VALENCIA, RAMONCITO M. | BOLLELLA, DONALD
简单同族
AU2004317007A1 | AU2004317007A2 | BRPI0414067A2 | CA2537796A1 | CA2537796C | CN102018496A | CN1874720A | CN1874720B | EP1670356A1 | HK1100761A | HK1100761A1 | JP2007503958A | JP2007503958A6 | KR101165102B1 | KR1020060123103A | SG120019A1 | SG146630A1 | US20050106713A1 | US20160058354A1 | US20160066828A1 | US20180344230A1 | US9133024 | US9993189 | WO2005084534A1 | WO2005084534A8
简单同族成员数量
25
简单同族被引用专利总数
429
诉讼案件数
0
法律状态/事件
授权
抱歉,您的浏览器不支持PDF预览,请点击链接下载PDF文件