专利数据库
统计分析
产业报告
专利数据监控
产业人才
行业动态
产业政策法规
维权援助
个人中心
详情
文本
图像
标题
Physiological measurement logic engine
授权日
2019-09-10
公开(公告)号
US10405804
申请日
2017-06-27
公开(公告)日
2019-09-10
当前申请(专利权)人
MASIMO CORPORATION
发明人
AL-ALI, AMMAR
简单同族
US10405804 | US20160166210A1 | US20170332976A1 | US20200163625A1 | US9211095 | US9693737
简单同族成员数量
6
简单同族被引用专利总数
169
诉讼案件数
0
法律状态/事件
授权
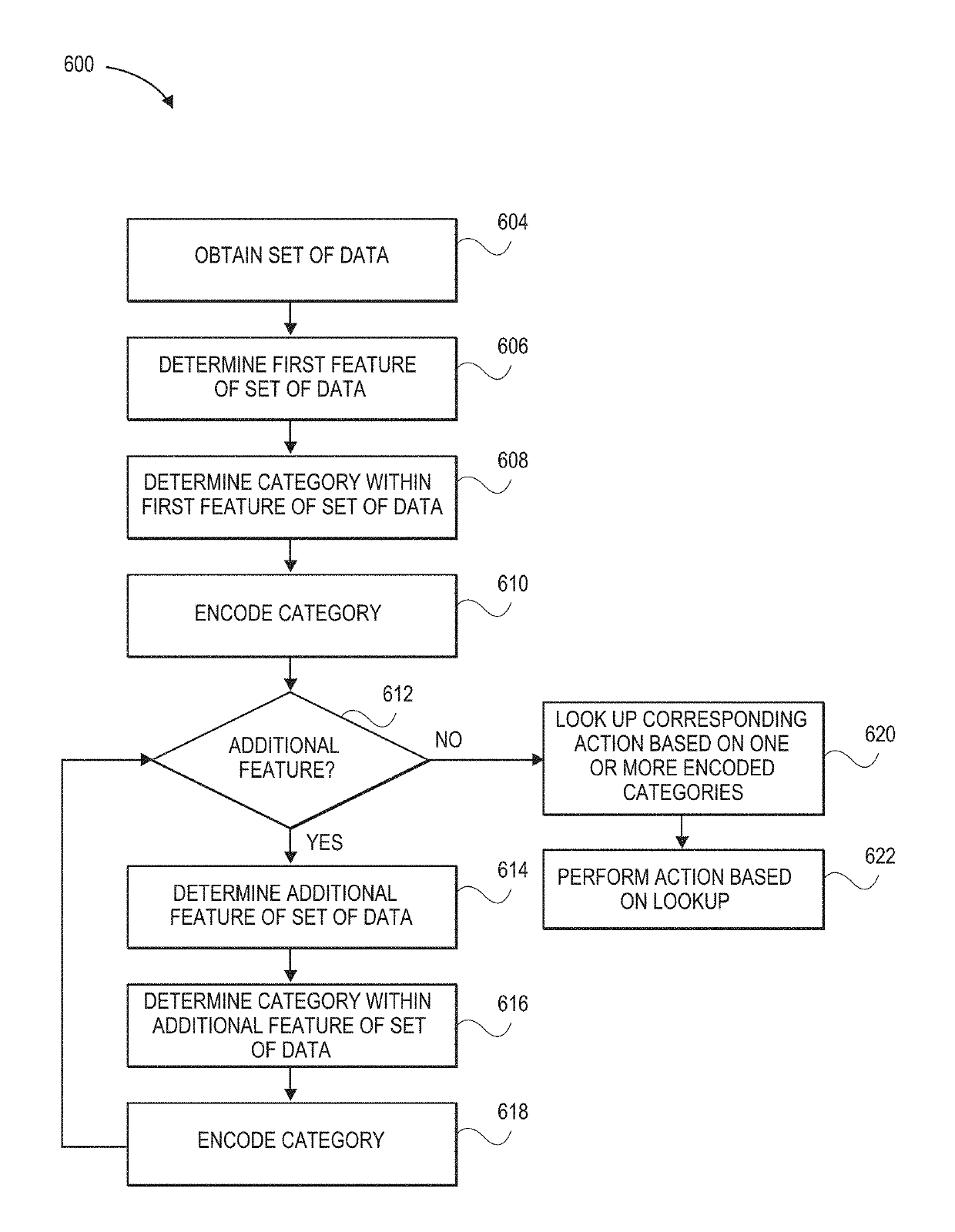
抱歉,您的浏览器不支持PDF预览,请点击链接下载PDF文件