专利数据库
统计分析
产业报告
专利数据监控
产业人才
行业动态
产业政策法规
维权援助
个人中心
详情
文本
图像
标题
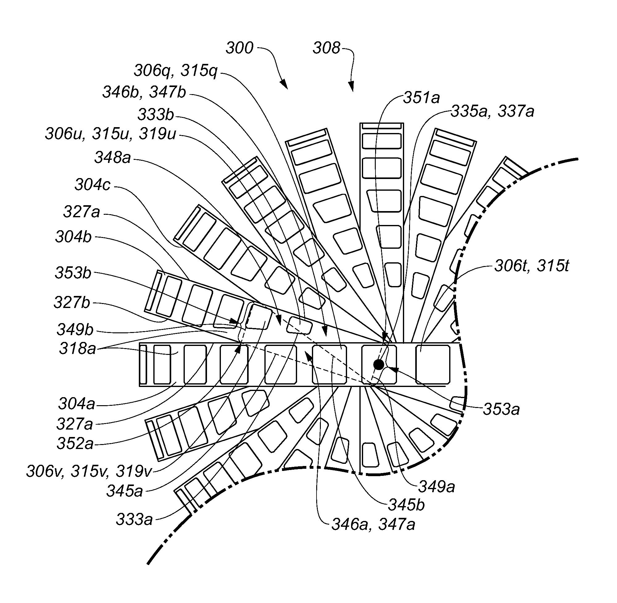
High-density electrode-based medical device system
授权日
2016-11-01
公开(公告)号
US9480525
申请日
2013-03-11
公开(公告)日
2016-11-01
当前申请(专利权)人
KARDIUM INC.
发明人
LOPES, FERNANDO LUIS DE SOUZA | MOISA, SAAR | HAWES, PETER JOSIAH
简单同族
EP2825121A1 | EP2825121A4 | EP2825121B1 | EP3649975A1 | IN9902DELNP2014A | US20130190587A1 | US20130197513A1 | US20170020604A1 | US20200046425A1 | US9480525 | US9486273 | WO2013173917A1
简单同族成员数量
12
简单同族被引用专利总数
69
诉讼案件数
0
法律状态/事件
授权 | 权利转移
抱歉,您的浏览器不支持PDF预览,请点击链接下载PDF文件