专利数据库
统计分析
产业报告
专利数据监控
产业人才
行业动态
产业政策法规
维权援助
个人中心
详情
文本
图像
标题
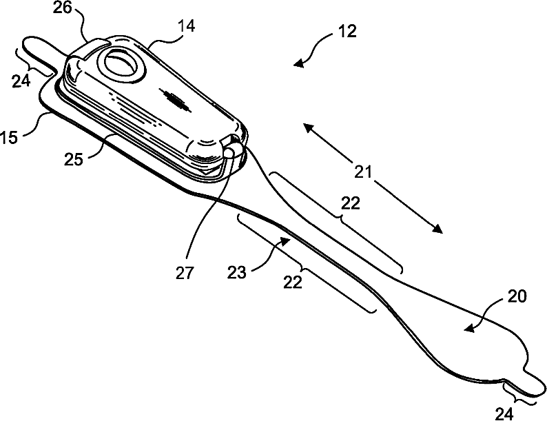
Extended Wear Electrocardiography Patch
授权日
1900-01-01
公开(公告)号
US20150087948A1
申请日
2013-11-14
公开(公告)日
2015-03-26
当前申请(专利权)人
BARDY DIAGNOSTICS, INC.
发明人
BISHAY, JON MIKALSON | BARDY, GUST H. | FELIX, JASON
简单同族
CA2982126A1 | CA2982126C | JP2018515293A | JP6431624B2 | US10478083 | US20150087948A1 | US20150087949A1 | US20160213263A1 | US20170188871A1 | US20170340215A1 | US20180177423A1 | US20200085337A1 | US9545204 | US9642537 | US9730593 | US9901274 | WO2016164623A1
简单同族成员数量
17
简单同族被引用专利总数
67
诉讼案件数
0
法律状态/事件
授权 | 权利转移
抱歉,您的浏览器不支持PDF预览,请点击链接下载PDF文件